|
"Качество и надежность - это не роскошь, это можно себе позволить" |


|
ЖИРОУЛОВИТЕЛИ ИЗ НЕРЖАВЕЮЩЕЙ СТАЛИ , ОЧИСТНЫЕ СООРУЖЕНИЯ 1. Жироуловитель (жироловушка) предназначен для улавливания из сточных вод цеха, столовых, кафе, пищевых производств жировых элементов, накоплением их в емкости жироуловителя, с последующим удалением в виде твердых отходов в мусоросборники. Жироуловитель необходим в любом производстве. Используя жироуловитель Вы экономите деньги, т.к. не тратите их на штрафы СЭС, на оплату услуг организации по очистке засорившейся канализации. Используя жироуловитель Вы выполняете требования СанПин. Эффективность жироуловителя заключается в его устройстве, основывающемся на законах физики и гидродинамики. Использование жироуловителей предотвращает засорение системы канализации, уменьшает содержание вредных бактерий в сточных водах. В принцип работы жироуловителя заложено использование разницы удельной плотности воды и жировых остатков. При попадании сточных вод в камеру жироуловителя, т.е в более ламинарный режим движения жидкости, происходит всплытие более легких жировых остатков и накопление их в приемном лотке. А более тяжелая по удельному весу и плотности вода через гидрозатворную трубу перетекает далее в канализацию.
2. Очистные сооружения представляют собой набор емкостных технологических узлов, выполненных из унифицированных модульных элементов, отделения энергосилового оборудования, КИПиА и хим. контроля, коммуникаций, обеспечивающих весь комплекс процессов очистки сточных вод и обработки отходов очистки (шлама и осадков). Принципиальная технологическая схема наиболее экономичного варианта очистных сооружений показана на рисунке. Производственные сточные воды из цеха самотеком поступают в приемный колодец 1 (см. рис.), откуда насосом перекачиваются в жироловку 2. Последняя представляет собой секционный отстойник, оборудованный скребковым механизмом для сбора жирошлама. Выгрузка осадка из жироловки осуществляется под гидростатическим напором ("3м.в.ст.) или же с помощью эрлифта. Благодаря конструктивным особенностям жироловки степень очистки сточных вод составляет 60-80% по взвешенным веществам, 50-65% - по ХПК и БПК, до 80-85% - по жирам. Из жироловки осветленная вода самотеком поступает в напорный флотатор 3. После флотации вода самотеком поступает на реагентную обработку в отстойник 4, куда насосом-дозатором подаются раствор коагулянта и, при необходимости, раствор щелочи (для коррекции рН). Из реагентного отстойника 4 очищенная вода самотеком поступает во вторичный многосекционный отстойник 5 и далее сливается в городскую канализацию. Отстойники 4 и 5 оснащены тонкослойными модулями. Часть очищенной воды в количестве 10-30% от общего расхода насосом забирается из отстойника 5, насыщается воздухом в эжекторе 6 и через диспергатор 7 подается в нижний отдел флотатора 3. Флотатор 3 оборудован скребковым механизмом с электроприводом для сбора и удаления всплывшего флотошлама. Отходы очистки из флотатора, жироловки и отстойника удаляются в шламосборник 8 для сгущения с целью последующей их утилизации или удаления на полигоны хранения твердых бытовых отходов. Отстоявшаяся вода из шламосборника 8 возвращается дренажным насосом в 1-ю секцию жироловки. Комплекс очистных сооружений оснащается системой автоматического управления, сводящей к минимуму участие персонала в обслуживании оборудования. |
|
ПИЩЕВОЕ ОБОРУДОВАНИЕ, ЕМКОСТИ, АГРЕГАТЫ из нержавеющей стали, насосное оборудование |

|
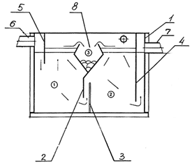
Сточные воды с жирами, без крупных частиц, поступают в первую ступень жироуловителя, где происходит осаждение взвешенных веществ и отделение жиров на поверхность. Предварительно очищенные таким образом стоки поступают на вторую ступень жироловки, где происходит дальнейшее отделение жиров, и затем стоки отводятся в канализационную систему. Слой жиров из обеих ступеней обезжиривания сгребается в накопительное пространство жироуловителя, где жир находится до момента его удаления из жироуловителя. |